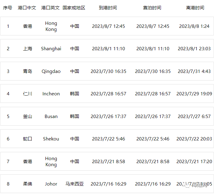
据马来西亚海事执法机构(MMEA)消息,8月12日晚,一艘高丽海运旗下运力为2778TEU名为“KMTC SHENZHEN”的集装箱船在巴生港Pantai Acheh附近突发大火。从现场图片来看,前甲板堆放的多个集装箱着火。该轮7月底8月初曾挂靠青岛和上海港,8月8日由香港驶往巴生港。

马来西亚海事执法机构(MMEA)报道称,接到“MV KMTC Shenzen”号集装箱船起火求救信号后,迅速部署一艘雪兰莪MMEA船、两艘西港的拖船和一艘北港的拖船参与救援。MMEA在周日(8月13日)的一份声明中表示:“火灾发生在船上的货物区域。作为初步行动的一部分,两艘拖船参与灭火控制火势。”


雪兰莪消防及救援部门主管Wan Md Razali Wan Ismail在一份声明中表示,他们于13日凌晨1时30分接到有关这起事件的警报,涉事船只“KMTC SHENZHEN”引发火灾时位于普劳平图格东岛西南约6海里区域,在海事局和马来西亚海事执法机构的帮助下,火势于凌晨3时30分得到控制。早晨7点20分,观察到两个集装箱仍然冒烟,并且发现一个装载树脂集装箱泄漏。”事故没有造成人员伤亡。


“这些集装箱里装载了普通货物和树脂。装载树脂的集装箱发生了泄漏。目前仍在通过喷水扑灭最后的余烬。同时还在检查集装箱,并修补发现的任何泄漏。”该消防主管表示。集装箱船“KMTC SHENZHEN”建造于2013年,悬挂韩国旗,运力2778TEU,服务于达飞的KCMCNC航线,事发时执行06WG6S1MA航次。管理者KOREA MARINE TRANSPORT CO LTD(KMTC),保险公司Britannia Steamship Insurance Association Ld.


该轮服务于Korea-NPRC-CPRC-Hong Kong (China)-SPRC-Malaysia船舶。涉及ANL、CMA CGM、CNC、SITC等船公司共舱。

目前船只的状况尚不清楚。根据船舶AIS截止14日定位显示,该船仍处于锚泊状态。有货物配载该轮的货代货主朋友注意!及时关注船公司消息,了解货物受损及船期延误情况。


“KMTC SHENZHEN”集装箱船
船舶信息:
KMTC SHENZHEN (IMO: 9626417) is a Container Ship registered and sailing under the flag of Korea. Her gross tonnage is 28827 and deadweight is 39829. KMTC SHENZHEN was built in 2013. KMTC SHENZHEN length overall (LOA) is 222.97 m, beam is 30 m. Her container capacity is 2778 TEU. The ship is operated by KOREA MARINE TRANSPORT CO LTD.
箱讯科技立足于国际货代供应链管理服务,团队自主研发国际货代SAAS系统,致力于成为顶尖的国际物流数字化基础设施供应商,以科技驱动国际物流创新发展,打造国际物流全链路数智化服务平台,为客户提供专业化透明化高效高性价比的全球供应链整合解决方案,以及端到端可见性和可控性的国际物流服务,欢迎咨询400-1567-881。
